
Nem megfelelő összerendelés a kötél tönkremeneteléhez vezethet!
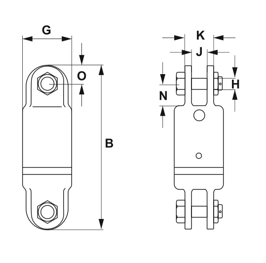
| cikkszám |
teherbírás t |
kötél Ø mm |
B mm |
G mm |
H mm |
J mm |
K mm |
N mm |
O mm |
saját tömeg kg |
| 297020 | 3 | 13 | 236 | 70 | 19,1 | 22,4 | 41,1 | 33,3 | 25,4 | 4,37 |
| 297226 | 5 | 16 | 262 | 76 | 22,4 | 25,4 | 57 | 41,1 | 28,4 | 6,21 |
| 297422 | 8,5 | 19 | 321 | 102 | 25,4 | 39,5 | 71,5 | 54 | 35,1 | 11,9 |
| 297627 | 10 | 22 | 426 | 114 | 38,1 | 44,5 | 86 | 89 | 44,5 | 20,8 |
| 297823 | 15 | 26 | 435 | 127 | 38,1 | 44,5 | 86 | 89 | 44,5 | 28,5 |
| 298127 | 25 | - | 527 | 152 | 51 | 51 | 117 | 93,5 | 60,5 | 64 |
| 298225 | 35 | - | 527 | 165 | 51 | 51 | 117 | 93,5 | 60,5 | 70 |
| 298323 | 45 | - | 641 | 178 | 57 | 63,5 | 127 | 102 | 76 | 107 |
| A cikkszámokra kattintva a termék(ek) az ajánlatkérés menüben listázásra kerülnek. |

Forgószem Crosby

Egyéb oldalaink:
Rozsdamentes növényfuttató
és építészeti kötélrendszer
Offroad és gépjárműcsörlő webáruház
2021 Texem - Minden jog fenntartva