
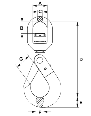
| cikkszám |
teherbírás t |
teherlánc illeszthetőség |
A mm |
B mm |
C mm |
D mm |
E mm |
F mm |
G mm |
saját tömeg kg |
| YE.8.089.06 | 1,12 | 6 | 33 | 35 | 12 | 165 | 19 | 70 | 27 | 0,7 |
| YE.8.089.08 | 2 | 8 | 36 | 42 | 13 | 204 | 25 | 88 | 35 | 1,2 |
| YE.8.089.10 | 3,15 | 10 | 42 | 50 | 16 | 241 | 27 | 108 | 44 | 2,0 |
| YE.8.089.13 | 5,3 | 13 | 50 | 60 | 17 | 285 | 41 | 137 | 53 | 4,0 |
| YE.8.089.16 | 8 | 16 | 61 | 65 | 22 | 351 | 49 | 166 | 60 | 7,3 |
| A cikkszámokra kattintva a termék(ek) az ajánlatkérés menüben listázásra kerülnek. |

8-as osztály - Csapágyazott forgó horog TXYE089

Egyéb oldalaink:
Rozsdamentes növényfuttató
és építészeti kötélrendszer
Offroad és gépjárműcsörlő webáruház
2021 Texem - Minden jog fenntartva